..:: Audio Wiring ::..

1982 to 1988 Camaro




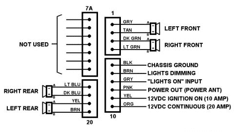
1988 to 1992 Camaro



MENY

- Home
- G�stbok
- L�nkar


- Back